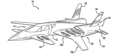
If you have heard of Richard Lugg, you probably know him as the man behind the HyperMach SonicStar supersonic business jet concept. And as if Mach 4 cruise, supersonic laminar flow, plasma drag and boom reduction, and superconducting electric propulsion were not enough, Lugg’s name appears on a new US patent (8,636,241, filed in 2006) for a hybrid jet/electric VTOL aircraft.
My feel is you don’t need SciFi tech to get on this road.
The hybrid jet/electric VTOL design looks a bit more practical and, if not Lugg’s design, then some similar form of distributed-thrust, electric-propulsion VTOL is going to fly sooner rather than later, I am sure.
